三星屏下指纹专利曝光:Note 9有望尝鲜
三星提交的一项关于屏下指纹专利曝光,Note 9有望尝鲜。专利显示,指纹识别模块藏于显示屏下,识别位置和vivo X21相近。

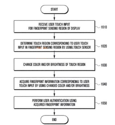
当手指接触屏幕时,OLED屏幕发出的光线会穿透盖板将指纹纹理照亮,指纹反射光线穿透屏幕到达传感器,形成指纹图像来进行识别。
之前有消息称三星正在计划将屏下指纹技术拥有下一代旗舰Galaxy Note 9,而且他们准备了三种方案,其中一种是三星可能会选用Synaptics提供的方案。
另外,根据此前曝光的消息,三星已经开始试产Galaxy Note 9的OLED面板,新机可能会提前至7月份发布。
除了常规升级外,三星Galaxy Note 9可能会配备4000mAh大电池,届时续航方面会有非常明显的飞跃。


2898站长资源平台网站排行榜:
http://www.2898.com/ranklist.htm
【版权与免责声明】如发现内容存在版权问题,烦请提供相关信息发邮件至 kefu@2898.com ,我们将及时沟通与处理。
本站内容除了2898站长资源平台( www.2898.com )原创外,其它均为网友转载内容,涉及言论、版权与本站无关。





