三星新专利曝光:透明折叠手机/类似钱包造型
三星新专利曝光:透明折叠手机/类似钱包造型。美国专利商标局(USPTO)近日授权了三星的一系列专利,其中一项有关折叠智能手机的新专利,向我们展示了三星概念手机的形态。文中描述的这款设备还配备了透明的显示屏,可能将用于增强现实AR技术之中。此外,该设备还包含一种神奇的“铰链”设计,可以使手机的形态更加多样化,使用场景更加丰富。



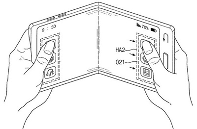
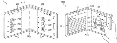
专利描述中介绍这并不是一种简单的机械铰链,而是一套包含了可弯曲传感器的完整系统。用户把手指放在传感器上,然后可以将铰链弯曲到预先设定的配置。插图展示了两款可折叠智能机,其中一款为三折钱包式设计。当设备部分折叠时,用户界面也有相应的显示。
其中一张插图中展现了手机分屏折叠后的使用场景,用户可以一边操作邮件,另一边打开其他的应用图标,类似现在的分屏操作,但是触发方式稍有不同。
此外,在另一专利中,三星还展示了对于透明屏幕智能机的设计理念,由于屏幕的透明化,与现有的需要依靠摄像头的AR体验不同,用户将透过手机屏幕实现更方便的AR体验。对此,大家有什么样的期待呢?
2898站长资源平台网站排行榜:http://www.2898.com/ranklist.htm
【版权与免责声明】如发现内容存在版权问题,烦请提供相关信息发邮件至 kefu@2898.com ,我们将及时沟通与处理。
本站内容除了2898站长资源平台( www.2898.com )原创外,其它均为网友转载内容,涉及言论、版权与本站无关。





