苹果正在着手设计可折叠iPhone手机
苹果正在着手设计可折叠iPhone手机?随着全面屏手机的大爆发,不少手机厂商都把中心转移到“如何尽可能的提高手机屏占比”上了,前两年传闻的“可折叠”手机的话题声音似乎越来越小。

不过这并不代表厂商们已经放弃了这种形态手机的可能性。
此前,OPPO、LG等手机均申请了“可折叠”专利,包括三星传闻中的Galaxy X等等。那么手机的另一巨头苹果呢?
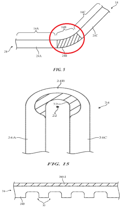
据phonearena报道,据传苹果公司正在认真考虑折叠iPhone / iPad设备。近日,该公司获得了美国专利商标局的专利,该专利名为“带有柔性显示器的电子设备”。该专利最初于2016年6月8日提交,其中提到了一种透明显示器,它使用“凹槽”在中间弯曲。

折叠屏幕时,凹槽区域会在显示层上变薄。为了防止这种设计对显示屏造成的严重破坏,该专利讨论了使用“弹性材料,流体和其他材料”填充中间凹陷区域的用途。
早在3月份,美林证券分析师Wamsi Mohan表示,苹果正在努力生产折叠式iPhone,有望2020年发布。在2017年10月,韩国有媒体称苹果已经让LG生产可折叠的OLED面板和电路板,目标是在2020年推出可折叠的iPhone。
2898站长资源平台网站资讯:http://www.2898.com/news/
【版权与免责声明】如发现内容存在版权问题,烦请提供相关信息发邮件至 kefu@2898.com ,我们将及时沟通与处理。
本站内容除了2898站长资源平台( www.2898.com )原创外,其它均为网友转载内容,涉及言论、版权与本站无关。





