未来iPhone可监测狐臭:不让体味影响你的生活
近日,苹果一项新专利在网上曝光,或许可以用来监测用户的狐臭情况。该专利名为“环境感知系统和方法”,旨在让iPhone和Apple Watch增加气味侦测的能力,用于监测空气污染情况和空气中其他有害化学物质。

iPhone XS Max
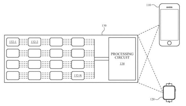
这项专利技术可以让气体通过设备上的透气层进入设备内部,然后让人工智能配合iPhone和Apple Watch上的传感器,自动识别空气中的气味,并与对应的化学物质进行配对,并测量出特定化学物质在空气中的含量。

苹果专利示意图
简单的说,未来iPhone和Apple Watch系列设备可以用于监测所在环境的空气质量,甚至可以确认空气中的一氧化碳、臭氧等化学物质。你也可以将这项专利功能用于监测体味和口气,避免不必要的社交尴尬。
不过该技术仍处于专利阶段,是否会转化成现实的技术还有待考证和观察,而且下一代iPhone搭载这项技术的可能性并不高。
【版权与免责声明】如发现内容存在版权问题,烦请提供相关信息发邮件至 kefu@2898.com ,我们将及时沟通与处理。
本站内容除了2898站长资源平台( www.2898.com )原创外,其它均为网友转载内容,涉及言论、版权与本站无关。





