QQ在线客服

当前位置:首页> 资讯> 外闻

苹果新专利:新一代 Apple Watch 可能结合血压追踪功能

2018-06-13 14:04 来源: 站长资源平台 浏览(1103)人   

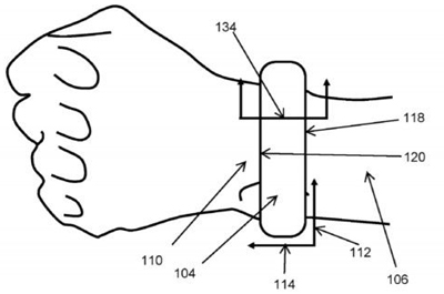
  苹果新专利公布:新一代 Apple Watch 可能结合血压追踪功能。上周,苹果一项能与 iPhone、Apple Watch 等技术兼容的「可配戴式血压监测器」新专利曝光,根据文件附上的照片暗示,外界纷纷猜测新一代 Apple Watch 可能将整合血压追踪功能。


苹果新专利:新一代 Apple Watch 可能结合血压追踪功能


  高血压为老人家常见疾病,也是台湾十大死因之一,许多患者常常未发现自己已罹患高血压,或是血压控制不恰当导致病情恶化,引发中风、心脏衰竭等并发症。

  由于血压实际数值会随许多因素变化,包括近期活动、测量时身体位置、摄入物质(如酒精、咖啡因)、以及当前压力大小等,甚至有些病人在家量测血压正常,但一在诊间看到穿白袍的医师,血压就会因紧张而暂时性飙高(通常高于 140/90 mmHg),这种症状称为「白袍高血压(white coat hypertension)」,为了获得准确血压值,医护人士会要求患者在家定期检查。


苹果新专利:新一代 Apple Watch 可能结合血压追踪功能


  随着老年人口递增,Apple 想进军健康医疗市场的野心已不是一两天的事,美国专利及商标局(United States Patent and Trademark Office,USPTO)上周新曝光一项 Apple 于两年前申请的专利「low-profile blood pressure measurement system」,据文件描述,Apple 血压追测系统能结合至可携式电子通讯设备中,比如平板电脑、手机、手表等,也能弯曲成圆周形状耦合至臂带、腿带、腕带中。

  另外,该系统「可能」有办法支持蓝牙传输、触控显示,但我们还不知道 Apple 对新功能的计划,外界根据专利文件的图片猜测可能会整合至新一代 Apple Watch,但也有说法认为 Apple 可能推出独立血压量测器。

  除了血压量测,日前也有消息指出 Apple Watch 未来还兼具帕金森病追踪功能,在可穿戴设备市场上,意欲不断结合各类病症追踪系统的 Apple Watch 能一枝独秀不无道理。


    2898站长资源平台网站资讯:http://www.2898.com/news/ 


【版权与免责声明】如发现内容存在版权问题,烦请提供相关信息发邮件至 kefu@2898.com ,我们将及时沟通与处理。 本站内容除了2898站长资源平台( www.2898.com )原创外,其它均为网友转载内容,涉及言论、版权与本站无关。