苹果新键盘机制,笔记本超薄不是梦
美国专利商标局公布了一项苹果新专利,名为“厚度减小的键盘组件和形成键盘组件的方法”,这项专利显示,苹果试图进一步减少笔记本电脑键盘厚度,同时修正蝴蝶键盘带来的各种问题。
这也意味着未来苹果笔记本电脑可以通过使用更纤薄的键盘变得更薄,方法是将目前的蝴蝶机制换成一个按键位置更靠近电路板的键盘机制,从而缩短键程,减少键盘制造所需的材料。

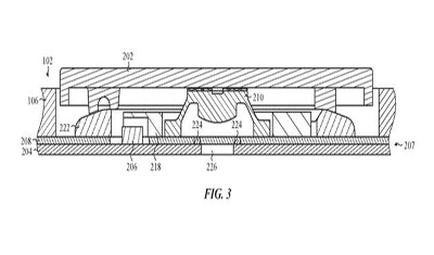
堆叠底部的PCB 有用于膜,开关机构和键帽的层站长资源平台。
在苹果提交的文件中,该公司建议使用一块直接粘贴在印刷电路板(PCB)上的薄膜。开关外壳可以选择性地直接固定在薄膜或PCB上,圆顶开关直接耦合在薄膜顶部。通常,薄膜不附着在PCB上,而是用于帮助简化连接,从而触发按键。通过将膜完全附着在PCB上,可以消除空间浪费,并使各个组件靠得更近。

圆顶开关夹在PCB和薄膜之间的示例圆顶开关夹在PCB和薄膜之间的示例
苹果公司还认为,通过将开关直接连接到薄膜,可以更轻松地安装开关,从而减少组装时间。为了进行电连接,薄膜可以由一系列基本上柔性的导电材料构成的膜垫组成,薄膜也可以使用导电粘合剂附着到PCB上,一旦干燥就可以正常工作。
苹果这项专利并不限于现有的蝶形系统。苹果公司认为它适合任何铰链机构,苹果在专利当中列举了V形铰链,剪式铰链,伸缩式铰链和滑动铰链机构作为示例。苹果每周都会提交大量专利申请,但不能保证这些概念会在将来的产品或服务中出现。
苹果有可能在10月单独为Mac举行新品发布会,届时我们也将看到全新的MacBook Pro发布。
【版权与免责声明】如发现内容存在版权问题,烦请提供相关信息发邮件至 kefu@2898.com ,我们将及时沟通与处理。
本站内容除了2898站长资源平台( www.2898.com )原创外,其它均为网友转载内容,涉及言论、版权与本站无关。





